添加到电脑桌面
添加到电脑桌面,以后点击桌面图标一键打开,无需搜索,非常快捷!
立即添加
普通会员
限时优惠
登录
首页
文档列表
专题
标签云
意见反馈
文库
系统集成
监理资料
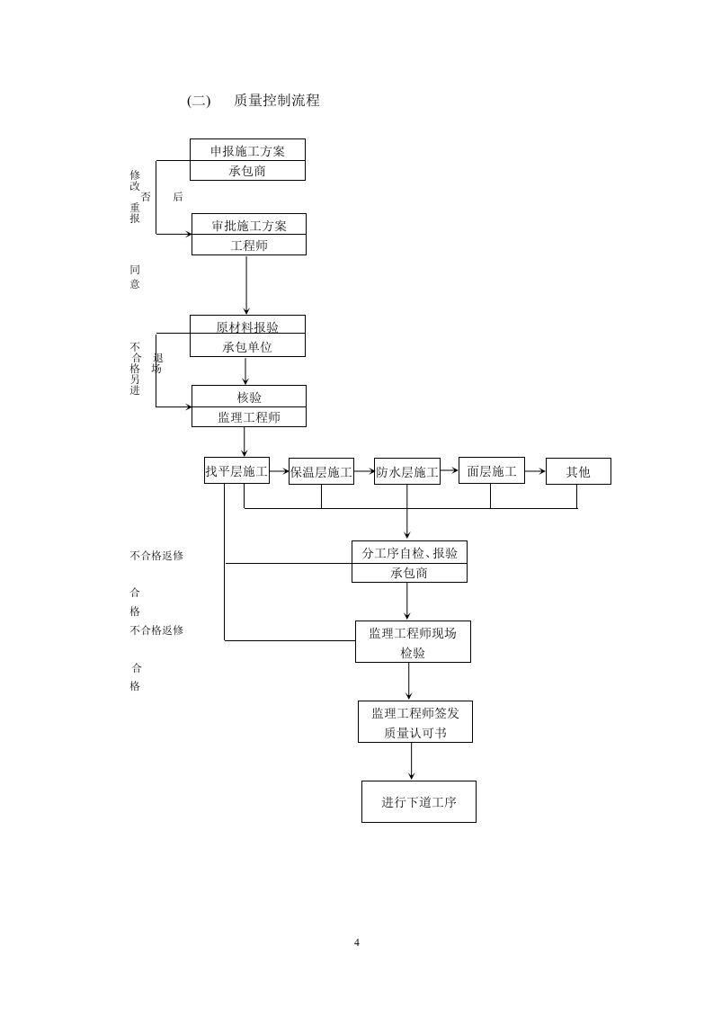
“省委新一号工程”屋面防水工程监理实施细则 Word(9页)
监理
DOC
9页
下载0
2025-08-15
浏览52
收藏0
点赞0
评分-
1积分
收藏
已收藏
喜欢
已喜欢
文档描述
“省委新一号工程”屋面防水工程监理实施细则 Word(9页)
系统集成文库
这个人很懒,什么都没留下
个人认证
查看用户
该文档于
上传
推荐文档
重庆市XX公司新建厂区工程(一号厂房)钢结构监理实施细则 Word(35页)
细石混凝土刚性防水层屋面监理实施细则 Word(8页)
屋面防水监理实施细则 Word(6页)
屋面防水工程典型监理实施细则 Word(3页)
土建工程监理实施细则 Word(34页)
水岸御景防水监理实施细则 Word(4页)
桥梁工程监理细则 Word(20页)
落地与悬挑脚手架工程监理细则编写作业指导书 Word(17页)
卷材防水工程施工监理实施细则 Word(5页)
卷材、涂料防水工程监理细则 Word(4页)
最新文档
重庆市XX公司新建厂区工程(一号厂房)钢结构监理实施细则 Word(35页)
细石混凝土刚性防水层屋面监理实施细则 Word(8页)
屋面防水监理实施细则 Word(6页)
屋面防水工程典型监理实施细则 Word(3页)
土建工程监理实施细则 Word(34页)
水岸御景防水监理实施细则 Word(4页)
桥梁工程监理细则 Word(20页)
落地与悬挑脚手架工程监理细则编写作业指导书 Word(17页)
卷材防水工程施工监理实施细则 Word(5页)
卷材、涂料防水工程监理细则 Word(4页)
客服